[ 發布日期:2020-05-25 15:48:29 ] 瀏覽人數: 21486
施工流程:
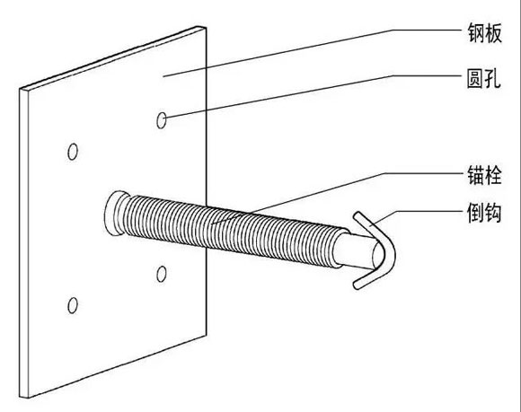
2)將錨栓-鋼板焊接為一個整體,然后將這個結構構件植入圓孔,與墻面產生結構連接。
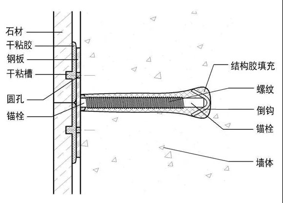
5)鋼板和錨栓通過焊接連接,錨栓通過和墻體內的結構膠和墻體固定牢固,自身的螺紋增強和結構膠之間的握裹力,倒鉤的設置增強和墻體之間的固定,防止錨栓被拉出墻體之外。
適用范圍:
①新工藝可用于高度不超過5m的室內裝飾空間,針對錨栓結構的設計,并經過研究測試(拉拔強度檢測報告),該錨栓結構能用于混凝土墻面及空心磚、混凝土砌塊等墻體。

△專用彈勾錨栓和八字形掛件干掛
▲磚墻體專用彈勾錨栓和八字形組合掛件連接

△錨栓構件
施工流程:
1)首先將基層處理平整。

新工藝干掛做法

傳統干掛做法
工藝特點:
使用的干掛件少,基層厚度得到控制,完成面厚度足以滿足絕大多數情況下的設計要求。且使用的干掛件少,極大地簡化了施工,人工成本和時間成本都得以減少。總的來說,施工便捷性增加,施工成本降低。
(1)節省橫豎龍骨鋼材,施工工藝減少,成本降低;
(2)現場無焊接工藝,減少安全隱患;