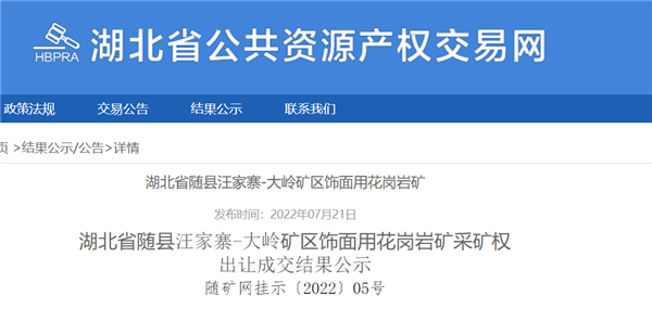
日前,湖北省隨州市自然資源局和規劃局公示隨縣汪家寨-大嶺礦區飾面用花崗巖礦等3宗礦權出讓結果,該3宗礦權分別由湖北金隨礦業有限公司與隨州市大嶺礦業有限公司競得。據出讓結果顯示,3宗礦礦區內可作建筑砂石料綜合回收利用的尾礦尾渣及風化層剝離量超10億噸,年產能超3000萬噸,累計成交金額近38億。
本次掛牌出讓為“凈礦”出讓,競得人須配套建設與采礦權相匹配的固廢綜合利用項目,將開采加工過程中形成的尾礦尾渣、鋸泥等進行綜合利用,確保在生產環節做到“吃干榨盡”,消除最大的生態環境污染來源,實現資源利用的最大化。
礦區大致地理位置
01
隨縣汪家寨-大嶺礦區飾面用花崗巖礦
該礦權飾面用花崗巖礦資源量礦石量10534萬立方米/荒料量3466萬立方米(其中控制資源量6521萬立方米/荒料量2129萬立方米,推斷資源量4013萬立方米/荒料量1337萬立方米);礦區內可作建筑砂石料綜合回收利用的尾礦尾渣及風化層剝離量30931萬噸。(注:評估利用可采儲量可參見該礦出讓收益評估報告)。
按照開發利用方案開發,生產規模:110萬立方米/年(荒料)、927萬噸/年(綜合利用),出讓年限:31.2年(含基建期2年),被隨州吳聯礦業有限公司以105589.51萬元拍得。
02
隨縣唐王沖-光寶山礦區飾面用花崗巖礦
該礦權飾面用花崗巖礦資源量礦石量16144.1萬立方米/荒料量5489.3萬立方米(其中控制資源量10390.3萬立方米/荒料量3532.9萬立方米,推斷資源量5753.8萬立方米/荒料量1956.4萬立方米);礦區內可作建筑砂石料綜合回收利用的尾礦尾渣及風化層剝離量45482.84萬噸。(注:評估利用可采儲量可參見該礦出讓收益評估報告)。
按照開發利用方案開發,生產規模:170萬立方米/年(荒料)、1367.16萬噸/年(綜合利用),出讓年限:29.9年(含基建期2年),被隨州吳聯礦業有限公司以163159.58萬元拍得。
03
隨縣汪家寨-大嶺礦區飾面用花崗巖礦
該礦權飾面用花崗巖礦資源量礦石量12059萬立方米/荒料量3854萬立方米(其中控制資源量7154萬立方米/荒料量2286萬立方米,推斷資源量4905萬立方米/荒料量1568萬立方米);礦區內可作建筑砂石料綜合回收利用的尾礦尾渣及風化層剝離量26397萬噸。(注:評估利用可采儲量可參見該礦出讓收益評估報告)。
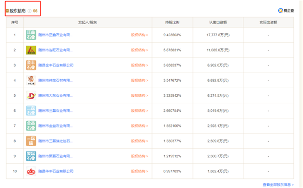
按照開發利用方案開發,生產規模:110萬立方米/年(荒料)、744萬噸/年(綜合利用),出讓年限:32年(含基建期2年),被隨州市大嶺礦業有限公司以108639.15萬元萬元拍得。
此次國企民企聯手競得湖北三處采礦權,標志著湖北在推進“綠色礦山、智慧礦山”建設,促進礦產資源集約化、規范化發展,提升湖北礦產經濟水平,多元化推動行業綠色化、智能化、高質量發展取得了重大進展。